ADVERTISEMENT
Filtered By: Scitech
SciTech

Pinoy inventors develop affordable, world-class medical waste disposal system


+
Add GMA on Google
Make this your preferred source to get more updates from this publisher on Google.
Proper medical waste disposal is a perennial problem worldwide. Until now, the WHO acknowledges the fact that there are practically no environmentally-friendly, low-cost options for safe disposal of infectious wastes. 
 
Enter Davao-based inventor Engr. Ricky Dayot and his team at Rad Green Solutions in Davao City with what they claim is an environmentally-safe, low cost, medical waste management system: the Pyroclave.
 
“It’s disturbing that most hospitals in the country don’t have the means to properly dispose their waste. It’s understandable that they would prefer spending their limited budget on life saving technologies, medicine, doctors and nurses. But they also need to comply with the health and environmental codes,” Dayot said of his invention's raison d'etre.
 
The pyrolysis process
 
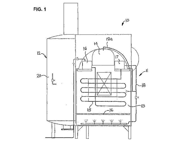
The Pyroclave is a medical wasteprocessor that uses pyrolysis —the process of decomposing organic material using extreme heat in the absence of oxygen.  It is this same process that is used in the creation of charcoal and in the conversion of coal to coke. 
 
Unlike incineration or burning, which requires oxygen and creates harmful by-products like dioxin, furans and carbon dioxide; pyrolysis produces fewer by-products. The process effectively carbonizes all solid material and produces 50% less carbon dioxide, it is claimed.
 
Pyrolysis has been touted as a viable option for medical waste management, but the cost has so far been prohibitive. 
 
On the other hand, other options —like autoclaving and microwaving— are supposedly just as expensive; cannot process all types of medical wastes; and still need the waste material to be shredded for disposal.
 
Enter the Pyroclave
 
With the Pyroclave, the waste material is placed inside a sealed rotating chamber. Once the machine is turned on, it goes to work and starts heating the rotating chamber. The intense heat within the chamber (up to 1,200 degrees Celsius) starts carbonizing the medical waste. 
 
The gas (called synthesized gas or “syngas”) produced by the intense heat and decomposition process  is recycled and fed into the burners, thereby serving as added fuel to continue the process and help boost combustion. 
 
After 15 to 45 minutes (depending on the type of material and amount), what’s left is the carbonized, soil-like remnants of the medical waste that the inventors claim is safe enough to be disposed of anywhere and can even be used as soil conditioner.  
Carbonized material left after 1 cycle in the Pyroclave.  
Making pyrolysis affordable
 
The Pyroclave has several unique features that enable it to make pyrolysis affordable. 
 
First, most of the materials are locally made and assembled, helping reduce manufacturing costs. Using the syngas to fuel the pyrolysis process also helps reduce the fuel cost needed to maintain the thermal process. 
 
But the most crucial cost-saving element, according to Dayot, is the device’s patented Hydroburn technology —invented by his father and Chief Scientist at Rad, Rodolfo Dayot— that enables the Pyroclave to produce more heat with less fuel.
 
The elder Dayot claimed to have discovered the principle behind his Hydroburn technology in the 1970s. But it was the younger Dayot, together with is friend and now president of Rad Ivan Lim, who helped find a practical use for the technology. 
 
Engr. Dayot saw that the technology addressed an unanswered need of hospitals all over the country: a cost-effective way to dispose of medical waste. 
 
“What we’re doing is giving them was to make it easier and more affordable for them to comply. Our technology will make it easier and cheaper for them to dispose of their waste. The Pyroclave is cheaper than incineration and autoclaving and we’re open to helping hospitals find ways so they can easily access our technology,” he added.
 
Disinfecting medical equipment
 
In addition to being a medical waste processing system, the Pyroclave can also be used to disinfect or sterilize medical equipment simply by changing the settings of its computerized control panel. Facilities that house the Pyroclave also have nothing to fear as Engr. Dayot assures that the technology is safe and the numerous safety features that they installed (pressure release valves, emergency stop, temperature and pressure switches, temperature controls) will automatically turn off the device in the event that something does go wrong.
 
Eng. Dayot claims that their Pyroclave is capable of processing as much as 500kg of medical waste per day at a cost of P20-25 per kilo. The results of their product demonstrations at different medical facilities has produced such favourable results, they already have partners for Pyroclave facilities in Cagayan De Oro, Cebu, Davao, and Indonesia. To help meet this increased demand, they’ve started to streamline their manufacturing process and outsource the manufacture of some the components used.
 
Attention from Silicon Valley
 
The Pyroclave has already brought the Philippines plenty of recognition. It has an active US Patent and was one of last year's winners of the ON3 Competition, an annual pitching competition for Filipino start-ups created by the Science and Technology Council of Silicon Valley. Mr. Ivan Lim and Engr. Ricky Dayot will be going to Silicon Valley, California, for 2 months, starting September, for immersion and exposure. The team will be hosted by the Plug and Play Tech Center and will be participating in the Plug and Play Expo at Sunnyvale, California this Sept 13 and Clean Tech Expo in November 8, also in Silicon Valley where they will be presenting the Pyroclaveto the 500 venture capitalists that will be present at the Expo. — TJD, GMA News