ADVERTISEMENT
Filtered By: Scitech
SciTech

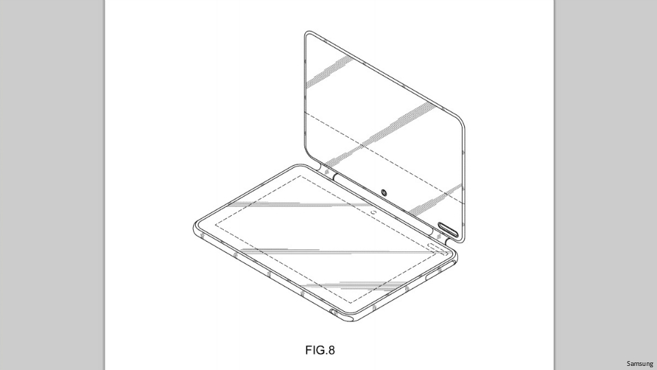
Samsung patents tablet with integrated smart cover


+
Add GMA on Google
Make this your preferred source to get more updates from this publisher on Google.

 
Samsung has been granted a new design patent for a tablet with what could be an integrated smart cover, an Android enthusiast site reported.
 
Android Police said the US Patent and Trademark Office granted Design Patent D720,747 to Samsung on Jan. 6 - more than two years after the patent was filed.
 
The USPTO credited Min-Jung Kim, Dong-Seok Lee and Jae-Seung Song as the inventors.
 
USPTO said the patent showed the tablet with a cover that can be used to support the device.
 
But Android Police noted the patent also provides an "interesting look at a style of tablet and cover from Samsung before in exactly this configuration."
 
The patent describes a hole in the upper right-hand side and one in the upper center.
 
"The longer opening resembles the opening for an earpiece on the Galaxy Note 8.0 Book Cover, used for making calls with a closed cover (on the call-enabled 3G model only)," Android Police said.
 
On the other hand, it noted a cutout in bold lines show a distinct design element.
 
"We've got no context as to its function, but it's right about where one's thumb might be if the user was holding it in his or her right hand. Unless it's an extremely stylized stylus and bay combination of the Galaxy Note variety, it just might be a shutter button for a 'selfie' shot," it said.
 
Also, Android Police said the patent was filed on July 21, 2012, "so any designs that Samsung had based on these technical drawings have either been released already or are shortly to come to market, as indicated above... or have been scrapped entirely." — Joel Locsin/TJD, GMA News